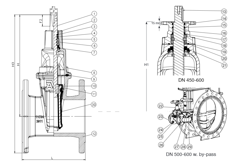
Дизайну клиновых задвижек AVK характерна надежность до мельчайших деталей. Клин, полностью вулканизирован резиной EPDM собственного производства AVK, утвержденной для контакта с питьевой водой, имеет исключительную износостойкость благодаря свойству резины восстанавливать свою первоначальную форму после сжатия, процессу обрезинивания сердечника двойной адгезией слоя и своей прочной конструкции. Тройная система уплотнения штока, высокая прочность штока и полная антикоррозийная защита обеспечивают непревзойденную надежность задвижки.

Описание изделия:

  • Фланцевая клиновая задвижка для воды и нейтральных жидкостей до макс. 70°C.

Стандарты:

  • Гидравлические испытания согласно EN 1074-1 и 2, Гидравлические испытания согласно EN 1171
  • Межфланцевое расстояние по EN 558, Таблица 2, базовая серия 14
  • Стандартная рассверловка фланцев в соответствии с EN1092 (ISO 7005-2), PN 10 или PN 16

Испытания / Утверждения

  • Гидравлическое испытание согласно EN 1074-1 и 4 или EN 12266.
  • Седло: 1,1 x PN (бар), корпус: 1,5 x PN (бар). Проверка рабочего крутящего момента.
  • Approved according to DIN-DVGW Certificate NW-6203BN0117
  • Одобрен на соответствие KIWA сертификатом K 6320

avkxХарактеристика:

  • Зафиксированная клиновая гайка предотвращает вибрации и обеспечивает долговечность;
  • Полностью вулканизированный резиной клин с направляющими пазами и опорными колодкам предотвращают коррозию;
  • Большое коническое отверстие для штока в клиновом затворе предотвращает застой воды;
  • Шток из нержавеющей стали со стопором и накатанной резьбой для высокой прочности;
  • Упорное кольцо по всей окружности обеспечивает надежное крепление штока и низкие моменты свободного вращения;
  • Тройная надежность уплотнения штока, состоящего из грязесъемного кольца из резины NBR,
    полиамидного подшипника с 4 шт. кольцами из резины NBR и манжетой из резины EPDM, служащей в качестве основного уплотнения среды;
  • Круглая прокладка крышки из резины EPDM зафиксирована в канавке;
  • Задвижка с полным проходом;
  • С низким рабочим крутящим моментом;
  • Epoxy coating to DIN 30677-2, GSK approved;
  • На диаметрах DN 450-600 внутри находятся 2 роликоподшипника из нержавеющей стали, и вместе с полиамидными колодками на клине они способствуют низким рабочим моментам. Кроме этого, наверху находится фланец ISO с рым-болтами для подъема; по запросу с байпасом DN 50.

Полное описание

Новости

Напишите нам